Welcome to WIFI Antennas

Register now to gain access to all of our features. Once registered and logged in, you will be able to contribute to this site by submitting your own content or replying to existing content. You'll be able to customize your profile, receive reputation points as a reward for submitting content, while also communicating with other members via your own private inbox, plus much more! This message will be removed once you have signed in.

clanon

Starlink Dishy

each CIRCULAR PATCH (director too) FLOAT on dielectric NO CONTACT...

Energy is fed trough slots at 90 degrees from each IC Driver

one for each circular patch

Circular polarization , slot feed , direct IC drive...ACTIVE PHASED ARRAY (for satellite pointing)

Sin título.jpg

yt1s.com - TSP 181  Starlink Dish Phased Array Design Architecture  RF Indepth Analysis_1080pFHR.mp4_snapshot_06.21_[2021.03.26_11.11.46].jpg

yt1s.com - TSP 181  Starlink Dish Phased Array Design Architecture  RF Indepth Analysis_1080pFHR.mp4_snapshot_29.03_[2021.03.26_11.13.18].jpg

Share this post


Link to post
Share on other sites

,,, well, and what to do with all these images?

Don't you think these are pointless?"

Share this post


Link to post
Share on other sites

,,, well, then tell me how these DIY images help..!!!

Share this post


Link to post
Share on other sites

well i personally ADAPTED  3,5 ghz and 5,8 ghz designs to 2.4 ghz ...

any antenna could be UP-scaled or down-scaled...

haven't tried slot feed yet...(it seems hard to get it right on DIY)

but the PATTERN and PATCHES design could be used on ANY frequency system...(MiMo array) CP

There's NOTHING unusual on the design...(except the electronics and the frequencies)

feel free to delete

 

Share this post


Link to post
Share on other sites

I thought this worked on:

Downlink (Satellite to User Terminal): 10.7 GHz to 12.7 GHz

Uplink (User Terminal to Satellite): 14.0 GHz to 14.5 GHz

Considering that nowadays satellite constellations is a demanded topic, I think now this post is really useful.

My questions below:

1) What are these cross patch shapes for? Directivity control, so that more gain? ... Surely the cross shape is for circular polarization achievement/improvement.

2) So...  they use slot feeding mechanism?

 

 

1 person likes this

Share this post


Link to post
Share on other sites

,I think it would be interesting to build a monopole antenna for the 5.5 GHz band...Broadband Circularly Polarized Patch Antenna Arrays With Multiple-Layers Structure

,,,does this by using an L-shaped feed on the layer below, and covers almost the exact frequency range needed (roughly 10-14 GHz)

Antenna1.PNG

starlink_user_terminal_array_1_15_single_antenna_parts_1.png

1 person likes this

Share this post


Link to post
Share on other sites
On 6/14/2024 at 2:08 PM, tomasbj said:

 

1) What are these cross patch shapes for? Directivity control, so that more gain? ... Surely the cross shape is for circular polarization achievement/improvement.

2) So...  they use slot feeding mechanism?

 

 

They are  Circular polarized disc patchs Right hand and Left Hand  without the CUTS it would go linear...

and are switched electronically from RHCP to LHCP 

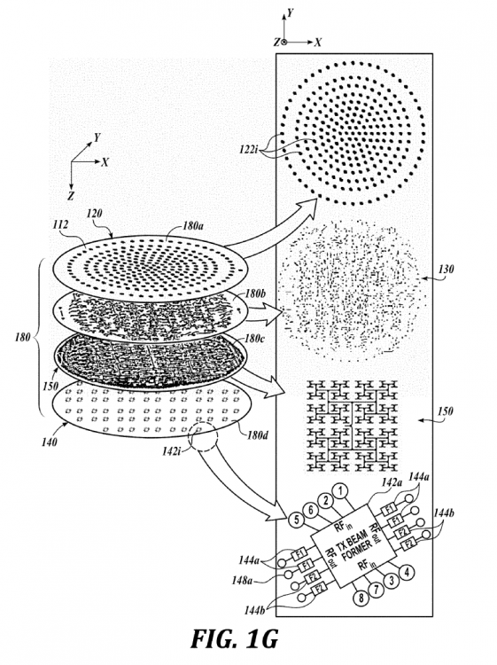
and EACH disc  could be fed (slot feeding) the phase of signal you program (delays) to make an Electronically Scanned Array (no need to point to Each satellite , the electronics do that) AND there is BEAM FORMING too...

Edited by clanon

Share this post


Link to post
Share on other sites

Create an account or sign in to comment

You need to be a member in order to leave a comment

Create an account

Sign up for a new account in our community. It's easy!


Register a new account

Sign in

Already have an account? Sign in here.


Sign In Now